Призначення
Барабанне сито використовується:
- Очисні споруди господарсько-побутових стоків малої та середньої продуктивності в якості механічної очистки;
- Виробничі підприємства:
- Харчові (молочні, ковбасні, м’ясопереробні, рибні, консервні тощо – видалення жиру та механічних включень);
- Бійні (вилучення жиру, шерсті, пір’я, сміття, книга тощо);
- Паперові, картонні (видалення залишків паперу);
- Перероблення та виробництво полімерних матеріалів (видалення дрібних домішок).
Характеристики:
- Корпус барабанного сита виготовляється з листового поліпропілену (PPC)
- Фільтрувальний барабан виконаний з перфорованого нержавіючого металу AISI 316
- Можливі прозори від 0,5 до 2,5 мм
- В якості промивної води може використовуватися вода після очищення
- Захисна кришка для барабанного сита
- Компактне закрите виконання, легкий в транспортуванні (корпус установки виконаний з поліпропілену).
Аксесуари:
- Можливість влаштування дистанційного контролю обладнанням
- Аварійне відключення обладнання
- Майданчик обслуговування барабанного сита
- Бункер для скиду забруднень з барабанного сита
- Контейнер для забруднень
Принцип роботи
Подача стічних вод може відбуватися як самопливною, так і за допомогою насосу. Стічна вода подається в приймальний лоток барабанного сита, звідки надходить на зовнішню поверхню барабана. При включенні приводу, який складається з мотора-редуктора, приєднаного безпосередньо до валу барабана, і забезпечує обертовий момент. Барабан обертається і стічна вода фільтрується крізь перфоровану поверхню барабана. Затримані відходи будуть збиратися в іншому бункері. З контейнера відходи забираються в ручну.
Рідина, яка очищається, надходить через патрубок в задній частині корпусу в приймальну камеру, після чого рівномірно надходить на барабан. Тверді частинки залишаються на зовнішній поверхні барабана, тоді як рідина проходить через прозори з певним розміром у внутрішню частину барабана (фільтрується).
В лотка скиду очищеної води розміщується ручна решітка для затримання залишкового сміття.
Розміщення елементів установки повинно забезпечувати зручність обслуговування та нагляду за роботою. Мінімальна відстань до стін та інших об’єктів – 750 мм. Потрібно передбачити, щоб монтажний та обслуговуючий персонал мав вільний доступ до елементів установки та міг виконувати роботу в безпечних умовах.
Барабанне сито працює автоматично. Керування відбувається з щита управління. Технічне обслуговування установки полягає у виконанні заходів, направлених на забезпечення безперебійної роботи установки та збільшення терміну її служби в умовах експлуатації.

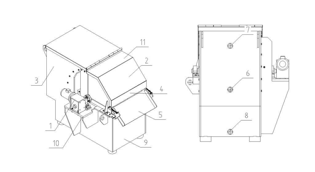
Позначення:
- Мотор-редуктор
- Фільтруюча панель
- Приймальний камера
- Очищаючий скребок
- Лоток для скребка
- Вхідний патрубок
- Перелив
- Вихід фільтрату
- Корпус
- Опора редуктора
- Кришка
| Розміри прозору | 0,25 | 0,5 | 1,0 | 2,0 |
| Продуктивність, м3/год | ||||
| DS-1200 | 72 | 127 | 203 | 288 |
